1. Pictorial 2. Safety 3. Before Driving 4. When Driving 5. Interior 6. Maintenance 7. Trouble 8. Customer Info 9. Specifications
Home Contents Index
About


<  Back


Close Manual

Page 43 of 58

6 - Maintenance and Care  |  Owner Maintenance

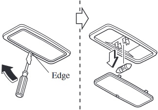
Replacing Interior Light Bulbs


Overhead lights/Map lights *, Overhead lights (Front) *, Overhead lights (Rear) *

1. Wrap a small flathead screwdriver with a soft cloth to prevent damage to the lens, and then remove the lens by carefully prying

    on the edge of the lens with the flathead screwdriver.


2. Disconnect the bulb by pulling it out.


Overhead lights/Map lights *

Overhead lights (Front) *

Overhead lights (Rear) *

3. Install the new bulb in the reverse order of the removal procedure.

* Some models.